
主要特點:
● 采用了三級空氣凈化,使進入燥系統的熱空氣達到萬級凈化要求。采用了氣掃和夾套冷卻雙層保護裝置,降低了產品的粘壁、焦化和吸濕現象,保證產品質量和回收率。
● 特有的成品風送系統將干燥成品與系統內的熱濕空氣及時分離,避免了干燥成品產生二次吸濕或結塊的可能性。
● 特殊的熱風分配設計解決了中藥干燥過程中易產生粘壁、過熱和吸濕的問題,使干燥過程中液滴的濕球溫度控制在物料的允許范圍內。
● 所有焊縫均磨平拋光,所有直角均采用圓弧過度,各項設計和加工均符合GMP。
應用范圍:
本系列噴霧干燥機主要用于各種中藥提取、動物提取、植物提取、醫藥加工、食品、保健品、調味品、生物制品和其它熱敏性物料的干燥。
| 項目/型號 | ZLPG-6 | ZLPG-12.5 | ZLPG-25 | ZLPG-100 | ZLPG-150 | ZLPG-200 | ZLPG-300 | ZLPG-500 | |
| 水份蒸發量(kg/h) | 6 | 12.5 | 25 | 100 | 150 | 200 | 300 | 500 | |
| 進風溫度℃ | 220 | ||||||||
| 物料固含量(%) | 18-45 | ||||||||
| 成品含水率(%) | 3-5 | ||||||||
| 加熱方式 | 蒸汽+電 | ||||||||
| 裝機電功率(kw) | 6 | 12 | 18 | 66 | 102 | 132 | 194 | 322 | |
| 蒸汽耗量(kg/h) | 10 | 20 | 55 | 220 | 330 | 440 | 660 | 110 | |
| 收料方式 | 一級旋風除塵器+ (二級旋風除塵器)+ (濕式除塵器)根據物料需要配置 | ||||||||
| 塔體直徑(m) | φ1.4 | φ1.8 | φ2.2 | φ3.2 | φ3.7 | φ4.2 | φ4.8 | φ5.6 | |
| 自控儀表 | 進風溫度,出風溫度,塔內負壓顯示,自動調節溫控儀。 | ||||||||
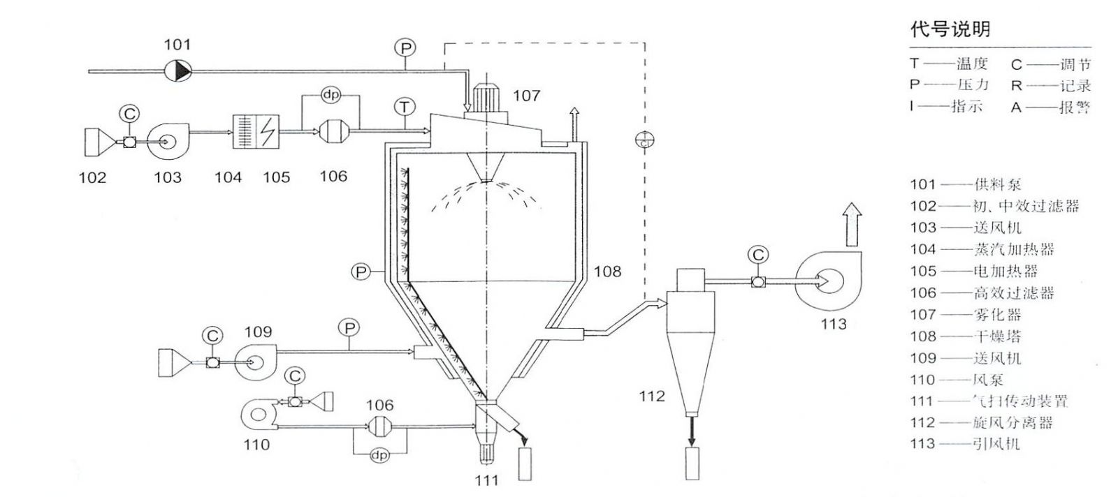
結構示意圖:
